Navštívte nás v predajniach v BRATISLAVE alebo v BANSKEJ BYSTRICI čaká na vás viac ako 20 000 položiek skladom.

Náš kód: P264152

ENGINE INSTALLATION

0,01 € Vrátane DPH
0,01 € Bez DPH
Na centrálnom sklade
+ -
(ks)

Porovnať

Zaradené v kategóriách:     DRAGSTER 300

ENGINE INSTALLATION
0,01 €
+ -

Popis a parametre

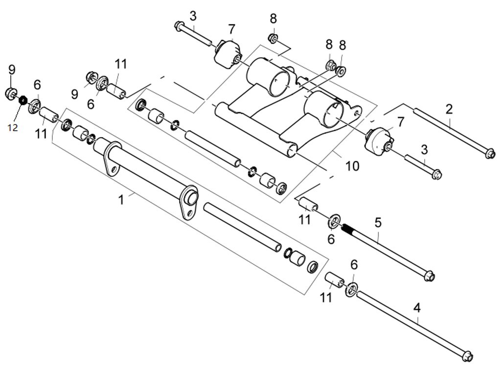
NO. PART NO. DESCRIPTION QTY. REMARKS Without VAT
          Cena bez DPH
1 41180-P0400-00 FRAME CONNECTING ROD 1   20.00
2 41212-P0400 PIVOT,ENGINE CONNECTING ROD 1 M10X1.25X210 4.50
3 A2018XA085W BOLT M10x85,ENGINE CONNECTING ROD 2 M10X85 1.90
4 41216-P0400 PIVOT 1 M12X1.25X310 7.00
5 41217-P0400 PIVOT 1 M12X1.25X240 5.00
6 41218-P0400 BUSH,NYLON 4   0.50
7 41970-N1400 SILENT BLOCK 2 0 6.20
8 08319-3110C NUT M10 3 M10,h=8.5 1.30
9 B5020X1200W NUT M12x13.8 2 M12x13.8 0.60
10 41190-P0400-00 ENGINE CONNECTING ROD 1   60.00
11 41251-P0400 BUSH,BEARING 4   1.00
12 D1140-1200R WASHER (ø13xø20x2) 1 ø13xø20x2 0.10

 

Náš kód: P264152
0 produktů k porovnání PorovnávanieZobraziť porovnanie