Navštívte nás v predajniach v BRATISLAVE alebo v BANSKEJ BYSTRICI čaká na vás viac ako 20 000 položiek skladom.

Náš kód: P264143

REAR SHOCK ABSORBER

0,01 € Vrátane DPH
0,01 € Bez DPH
Na centrálnom sklade
+ -
(ks)

Porovnať

Zaradené v kategóriách:     DRAGSTER 300

REAR SHOCK ABSORBER
0,01 €
+ -

Popis a parametre

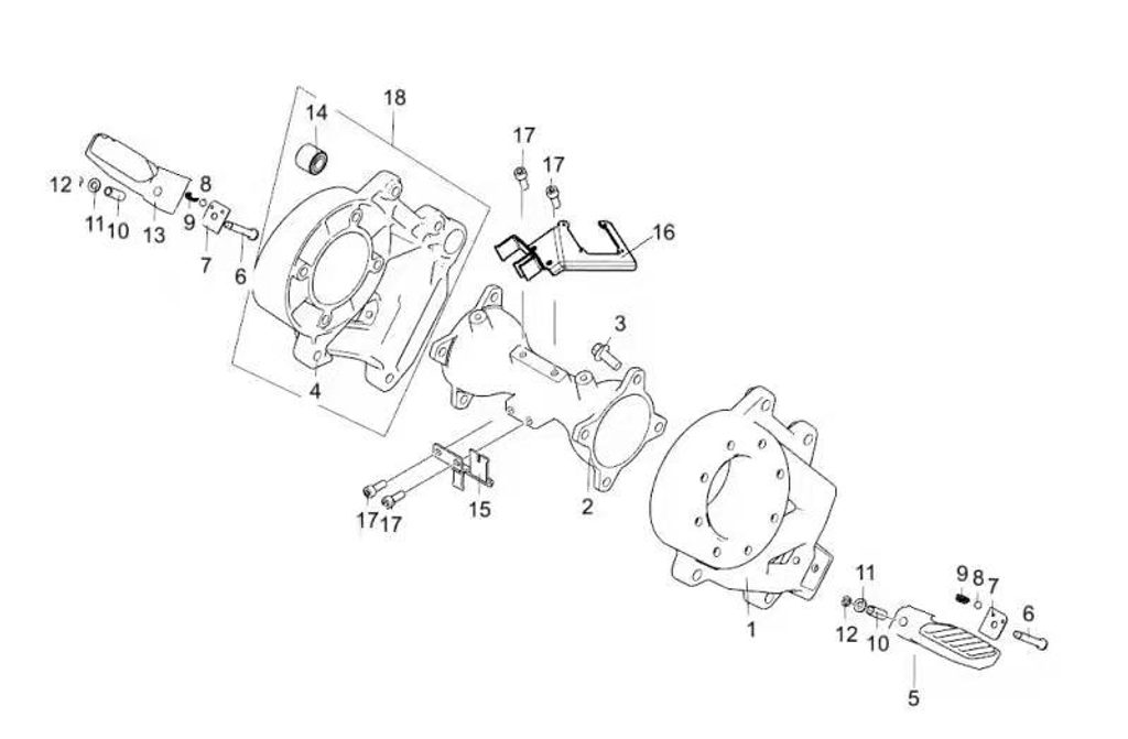
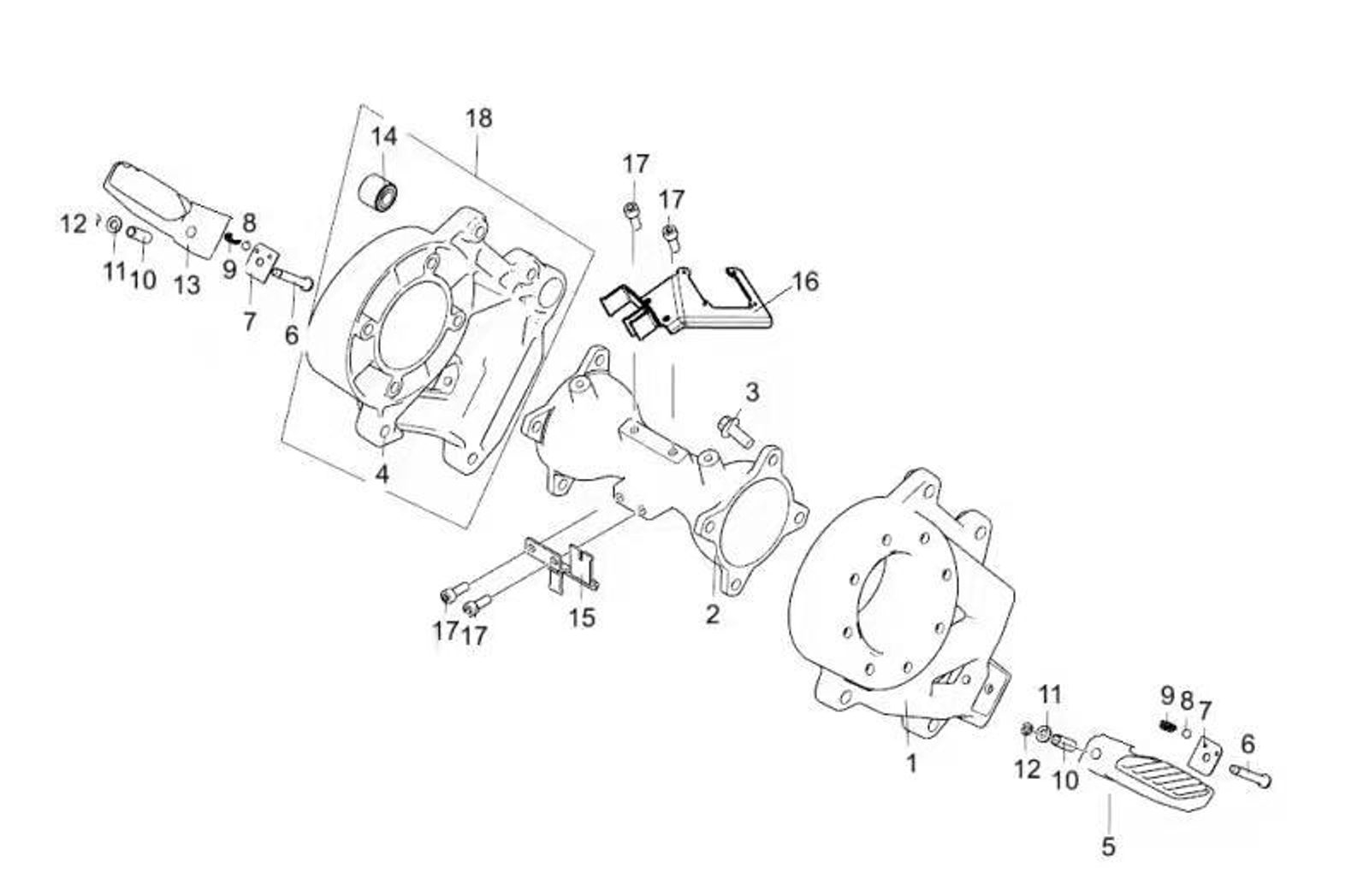
NO. PART NO. DESCRIPTION QTY. REMARKS Without VAT
          Cena bez DPH
1 41722-P0400-0C3 LEFT REAR FRAME CONNECTOR SILVER 1 ITALJET SILVER 90.00
2 41723-N1600-0C3 REAR MIDDLE FRAME CONNECTOR SILVER 1 ITALJET SILVER 58.00
3 AP8152286 SCREW FHE M8x20 8   0.30
5 43710-N1600-0C3 LEFT  REAR FOOTREST SILVER 1 ITALJET SILVER 13.00
6 43604-N1600 TURN ASTRICT PIN 2   2.50
7 43613-N1600 TURN ASTRICT BOAR 2   0.20
8 L0G40-60000 STEEL BALL 2   0.30
9 43612-N1600 SPRING 2   0.10
10 F4020-0820Y BUSHING 2   0.40
11 43615-N1600 WASHER 2 ø6.1xø10x1.2 0.20
12 H1030R04000 RETAINING RING 2   0.10
13 43610-N1600-0C3 RIGHT REAR FOOTREST SILVER 1 ITALJET SILVER 13.00
15 44351-N1600 BRACKET,FUEL FILTER  1   1.60
16 33210-N1601 PLATE,IGNITATION COIL 1   5.20
17 ITJ4565791 SCREW CHHS M6x12 4   0.20
18 41720-N1600-0C3 RIGHT REAR FRAME CONNECTOR SILVER 1 ITALJET SILVER 95.00

 

 

Náš kód: P264143
0 produktů k porovnání PorovnávanieZobraziť porovnanie