Navštívte nás v predajniach v BRATISLAVE alebo v BANSKEJ BYSTRICI čaká na vás viac ako 20 000 položiek skladom.

Náš kód: P264146

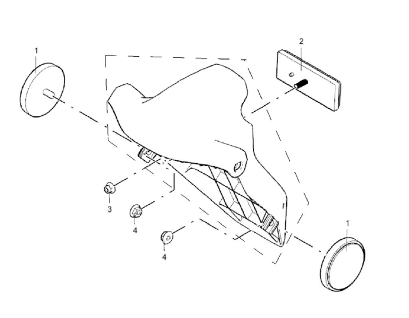
SIDE REFLECTOR/ REAR REFLECTOR

0,01 € Vrátane DPH
0,01 € Bez DPH
Na centrálnom sklade
+ -
(ks)

Porovnať

Zaradené v kategóriách:     DRAGSTER 300

SIDE REFLECTOR/ REAR REFLECTOR
0,01 €
+ -

Popis a parametre

NO. PART NO. DESCRIPTION QTY. REMARKS Without VAT
          Cena bez DPH
1 35950-N1201 SIDE REFLECTOR 2   1.20
2 35970-N1400 REAR REFLECTOR 1   4.00
3 B5110-0500J NUT 1   0.20
4 AP8152299 AUTOLOCKING FLANGED NUT M6 2   0.20

 

Náš kód: P264146
0 produktů k porovnání PorovnávanieZobraziť porovnanie